蜗牛创想十一周年:轻舟已过万重山!
蜗牛创想十一周年生日快乐!
各位同事、学员和朋友们,大家好,我是邓强,今天是蜗牛创想成立十一周年的日子,蜗牛学苑这个IT培训品牌,也已经持续为学员服务了十一年。在这十一年间,作为一家商业机构,我们经历了一家正常公司应该经历的所有周期,从初创、到平稳运营、到高速发展、到业务下滑、到触底反弹,个中体会,想必我们的同事和伙伴们,深有感触。如果要给当前蜗牛创想的业务做一个定位,那么用四个字就能概括:稳健经营。如果还要带一点感情色彩,那么七个字足以说明:轻舟已过万重山!

十一周年,也算是第二个十年的开局之年,这一封公开信,算是对蜗牛创想的过去十年做一个总结,对未来十年做一个规划,让大家更清楚我们经历了什么,正在做什么,未来打算怎么做。为大家揭秘一个真实的蜗牛,无论好坏,我们没有秘密。好的地方,我们继续发扬,不好的地方,也算是给大家分享一些失败经验,为后来者铺路。当然,我们也非常愿意邀请更多的朋友一起来参与蜗牛创想的未来十年,无论是入职、还是合作,共同谱写“AI+教育+科技+人才”的新篇章。
01 至暗时刻
从蜗牛创想五周年开始,每年我都会写一篇万字长文,来向大家展现蜗牛到底是个什么样子,我想,作为一家培养了2万多名线下学员的老牌机构,我们没有秘密,我写这些文章也只是想把一个更加真实的蜗牛创想展现给大家。不粉饰太平,不隐藏问题,这不是软文,这是公开信,这里没有谎言,我也不屑于在这里吹牛和装逼,只想让大家更加深刻地了解我们,进而理解我们,信任我们。所以,先来说说我们是如何度过这艰难的三年时间的,我们的至暗时刻,到底有多难。
事情要回到2022年,这是整个IT培训界最为风光的一年,也是所有机构业绩最好的一年,无论你的品牌影响力有多大,你都能在这个行业里赚钱,蜗牛当然也会赚得更多,我们2022年的营收是1个亿,在9个城市拥有11个校区(成都有三个校区:成都总部的孵化园校区、阿多比UI设计校区、火车南站的天府校区)。为此,我们已经为未来五年做好了扩张、并购和上市的全盘计划,为什么会有此计划,是因为我们的前辈老大哥(传智教育:003032)已经于2021年在深交所以发行价8.46 元/股上市,最高峰市值过百亿,让我们看到了这条路径是可行的。遗憾的是,现在的老大哥已经变成了*ST传智,并且股价也早已破发,这是后话。我们也衷心希望老大哥早日摘帽,继续引领职业教育行业持续发展。
有句话怎么说来的,“欲使其灭亡,必先其疯狂”,也许这就是2022年和2023年这两年的真实写照,我想可能也是很多行业所经历的。当然,蜗牛创想也未能幸免,甚至在2023年4月份的时候,一位同行与我交流,没有信心再做下去,想裁员,想关闭其业务时,我还没有意识到问题的严重性。事实证明,站在2026年的现在,回望过去,我不能说他是完全正确的,但是他的感觉是对的,而我们的决策,其实还是滞后的,甚至是致命的。这是我作为公司创始人和CEO,必须要深刻反省和总结的教训。
但是,这里还是得加个但是,如果再给我一次重新选择的机会,以我们管理层的尿性,可能还是会选择当初的决定。从2015年到2022年,经过8年时间的经营,蜗牛创想的业绩都是逐年上升的,股东也有不错的回报,如果我们要追求小富即安,那么果断在2023年关闭所有培训业务,小日子也能过得不错。但是这并不是我们创业的初心,也并非追求一个小富即安,因为,我们觉得自己做的这件事情是很有社会价值的,即使遇到一些困难,也是暂时的,是可以扛过去的。企业也非常需要我们这样一群人,来培养出有实操能力的工程师。
然而,我们还是太天真了,一群人甚至一个行业,在大势面前都是渺小的,甚至有些徒劳。尤其作为一个理想主义者,更是无法抗拒这种力量。就像股票一样,一只股票一旦进入下跌周期,根本不知道底在哪里。蜗牛创想的业绩,诚如这种股票走势一样,不知道何时是底,也不知道何时止损才是正确的,我们一度不知道该怎么办了,感觉做的每一件事,都是错的。

(仅说明趋势,请勿对号入座)
然而,相比于这种手足无措,更令我们倍感艰难的,即使在进行了关闭校区、缩减规模、裁员降薪,以及各种自救措施后,到了2024年下半年,仍然看不到好转,此时,蜗牛创想迎来了一家企业的至暗时刻。股东前期的分红完全被掏空,银行贷款也花完了,业务毫无起色,资金断裂,还欠了员工薪水,债务重重。更令人绝望的是,团队的士气和信心遭遇了沉重打击,我们已经有近两年时间,没有收获一个好消息了,而且,干的全都是考验人性的事,太难了。我们开始怀疑,到底哪里错了,这家公司还有没有未来,未来又在哪里?
即使在此时此刻,我以非常平静的心态来写这篇文章的时候,回忆起那两年的各种过往,依然觉得波澜壮阔,惊心动魄,如果用两个字来概括,大概就是:“心酸、无力、刺激、迷茫、难过、惨淡”。好在,我们还有一些品性,并没有因此放弃,用两个字来概括就是:“初心、相信、坚韧、责任、力量、团队”,也正因为这些东西,让我们熬过了最凛冽的寒冬,开启了全新的篇章,现在,正值春天,正是播种的好季节。
02 努力自救
截止到2025年底,IT培训行业从业者,诚如当年的K12教育一样,经历了灭顶之灾,相信,对于一些看空这个行业的人来说,值得欢呼雀跃。但是,整体回看这些现象,我认为这并不是一件好事情。要毁灭一个行业是容易的,只需要一个周期,或者一纸命令,轻而易举,但是要重建一个行业,却并非易事。看到我们自己,也看到同行,陆续倒下,有的朋友难免都会问我,你们的竞争对手都关闭了这么多,那你们的日子,应该要舒服一些了吧?相信朋友们必然也会这么想,对吧?如果我说并没有呢?你们会相信吗?但是这是事实。
其实我从2009年进入IT培训行业做专职讲师以来,正好就经历着2008年全球金融危机的余波,企业大规模裁员,学员就业很难。那时候,我的老板跟我们分享了一个经验,当一个行业不再有很多人一起做的时候,当一个行业整体遇冷的时候,没有了很多人的关注后,你再牛逼,你也是容易被忽视的那一个。我认为他说的是对的。我们需要这个行业继续活跃起来,需要得到更多人的关注,让大家都能看到这个行业的价值,那么我们才能活得更好,如果这个行业天天都传出来,谁谁谁又倒闭了,你想,你如果作为一名学员,或者一名潜在客户,你还会选择这个行业吗?
当然,事情也有好的一面,老祖宗的智慧告诉我们,“横看成岭侧成峰”,硬币还有另外一面,我们需要辩证来看待这些问题。经济都是有周期的,企业也有自己的周期,至于如何扛过这样的周期,那就是企业主所做出的选择而已。我们的选择,就是拼尽一切力量,一定要让自己仍然在牌桌上,因为一旦下了牌桌,再无机会。这是我们的选择,所以我们就必然要为选择买单,即使错了,只要死不了,那就往死了干。

从2023年第二季度开始,我们就进入了亏损周期,直到2024年底,仍在亏损,什么意思?说出来惭愧,也就是,我们的很多自救措施,其实都是无效的,是徒劳,并没有改变太多。但是,当然也有积极的一面,有价值的一面,各位朋友一定很想知道,我们都干了什么,干了哪些感觉有点用的,当然,更想知道,我们干了哪些蠢事,为博诸君一笑,多点吃瓜素材,我姑妄言之,您姑妄听之!
01、新媒体
2023年9月份,我们成立了一家新媒体公司“播趣科技”,这是一家在2025年暗淡收场的公司,是一个失败案例,但是我仍然想拿出来说道说道,毕竟成功的经验千篇一律,失败的经验才是有灵魂的。为什么成立播趣科技?因为根据我们的分析,业务下滑很重要的一个原因,就是我们在短视频爆发的时代,并没有第一时间跟进,也因此错失了很多机会,市场营销也一直找不到支点。众所周知,蜗牛学苑这个品牌,我们在传统营销领域是做得相当成功的,无论是自有平台,还是软文,或者是像B站和知乎等领域,我们都是很成功的。但是当市场机会切换到小红书和抖音的时候,或者当我们的客户群体从90后转向00后之后,我们的反应是迟钝的,诚如很多成熟的公司一样,有点跟不上时代的步伐了。
所以,一个机缘巧合,加上朋友的提议,我们经过简单讨论后便成立了这家公司,一上来就拉着十几个人的团队开干,新媒体培训、干电商、干商业IP孵化,但凡跟新媒体沾边的,都在尝试,最终,没有找到自己的核心定位,没有打出自己的独特优势,没有在业界站稳脚跟。事后分析,三点经验带给各位,也带给自己:
一家新公司,一个小团队,一定要找好自己的定位,做好一件事情就够了,把这件事情做到极致,做深,做透就好。其实这样的教训,这样的案例,我们也学习过很多,但是总想着试错,总觉得试试又无妨,时间成本才是最高的成本。
做一个自己和团队完全不熟悉的领域,是完全没有意义的,更何况,进入这个行业的时机,已经是后半场。
永远保持敬畏之心,每个人都不是全能的,并不意味着你在某个领域成功过,你在别的领域就一定能够成功。反之,你如果在自己的IT培训这个主营领域,本就在走下破路的时候,为了找到新的业务增长点,去进入一个并不熟悉的,也没有自己护城河的新领域,那不是找死是什么?
当然,播趣科技的2年运营,也算是花钱买了很多教训,积累了很多经验,所以我们就是要看到硬币的另一面,否则,创业给你带来的,99%的时间,都只能是痛苦。我们知道了自己在新媒体领域的短板,知道了如何做新媒体,知道了哪些事情可以做,哪些事情我们做不了,认识到了自身的不足,也知道应该如何发挥好自身的优势。
02、九块九
关于销售方面,我也可以为大家分享一个失败经验,关于9块9促销的问题。由于招生受到较大的影响,所以为了提升报名量,我们推出了99块钱报名费就可以试学一周(以往均是800元报名费),甚至还推出过9块9报名费试学一周的政策,这个策略本身放在很多产品的营销上是没什么问题的,但是作为培训业务,这么干不行。
由于报名费特别低,导致学生几乎不需要做太多考虑就可以先报名占个位置,但是真正到入学时基本上就不来了,甚至有的学生连报名费都不要了,直接消失。因为培训是需要入读的,这里存在一个转化的过程,而当我们收取极低的报名费后,这一转化过程的流失率显著增加,虽然看上去报名量多了,但是入读人数并没有增强。
所以,教育培训这个行业,并没有几个人打价格战,甚至大多数机构,都是每年都在涨价,包括高校,学费也都是往上涨的,没有人会去降价促销。降价,只会带来更差的服务,毕竟这不是一个标品,靠规模就能取胜。甚至规模越大,服务可能越差。
03、员工持股
2023年底,为了筹集一些现金,也为了让优秀的员工能够跟我们共进退。公司面向内部员工推出了一项政策:员工持股,每个校区按照极低的价格,将股份转让给想要持股的员工,同时条件也是非常宽松,进退自如。更多的还是希望能够激励一些同事与我们并肩作战,共同应对业务下滑的危机,确保后续业务好转时,团队依然优秀。这一政策目前看来,算是成功的,蜗牛创想的核心团队得以保留,并持续为学员提供专业的培训服务从未间断,即使在最艰难的时刻。
所以,如果今天我不写这篇文章来公开这些往事,相信很多学员对蜗牛学苑曾经的经营困境都是感觉不到的。因为无论再艰难,我们一定给予学生最好的服务,哪怕是关闭一个校区,也确保学生的教学和就业不受影响。所以,我可以自豪的告诉我们每一个学员,蜗牛学苑这个品牌,值得你的信任,只要你不放弃,我们即使再艰难,也都会对你负责到底,把你的未来,交给蜗牛学苑,请你放心,我们说到做到。
说回员工持股这个事,这样的政策,在2023年底公司严重亏损的大前提下,其实是非常考验人性的,对于很多同事来说也是一个艰难的抉择,也正因为如此,所以我们设置了非常自由的退出条件,让员工无后顾之忧。由于公司过往的成功经验及诚信,在哪些艰难的情况下,仍然有一大批愿意追随我们的同事,选择相信我们能够翻盘,甚至后面还有增持股份的同事。也正因如此,当我们面对至暗时刻的时候,我们一个自负盈亏的政策,得以顺利落地实施,大家可谓真正意义上的一起并肩作战,熬过了最难的时间。
04、自负盈亏
2024年下半年,公司进入至暗时刻,现金流枯竭,每个月都是亏损,工资都发不出来了。怎么办?当然第一条路径就是银行抵押贷款,但是依然无法完全解决现金流问题,仍然还在欠薪,怎么办?思来想去,我们做了一个决定:自负盈亏,把选择的权利交给了校长和同事。自负盈亏周期为半年,即2025年上半年,每个月的工资以实际校区营收为限按照比例进行分配,如果下个月的收入有所增加,则补发上个月的工资。如果自负盈亏期间有盈利,则给大家分红。
站在2024年下半年那个时间点的当时来看,这是一个没有给自己留后路的决定,因为,一旦员工无法接受,面临的就是全面倒闭。或许,正因为我们前期的一些信用积累,仍然有一批忠实的追随者愿意相信我们,相信这个团队。所以,该政策得以实施,绝大部分同事留了下来。
通过自负盈亏,我们得以继续服务学员,业务得以继续,团队得以存续,现金流得以缓解。而事实证明,2025年上半年,通过大家的努力,也都最终补齐了员工的工资,甚至有的校区还有分红可以拿。终于,时间来到了2025年,蜗牛创想成立十周年的日子,在解决了各类历史遗留问题后,我们得以轻装上阵,迎接属于我们自己的十周年。
03 特别致谢
事实上,在2023年和2024年最艰难的时刻,除了上面提到的4个点以外,我们肯定还做了很多事情,对吧?只不过那都是正常的,应该做的,不值得我大书特书,在此简单提一提,大家了解一下即可。比如持续更新课程体系,全面拥抱AI,我作为CEO也在2023年带头研究AI,开设AI专业课程,研发AI相关产品,让AI为我们赋能。再比如市场团队的各种改革,营销渠道的各种拓展,或者与各类自媒体博主的深度合作,提供更多市场资源。或者是内部的薪酬体系的调整和优化,以及招生团队的过程管理,甚至专门请管理咨询公司为我们谋划和指导,等等,各种措施,陆续实施,只为一个点:坚定信念,持续经营。所以,此时此刻,在这样的场合,我必须郑重的感谢以下5个群体:
特别感谢学生对我们的信任,在一些班级只有几个学生的情况下,你们依然坚定选择蜗牛,认为蜗牛不会倒闭,没有因此而退学,甚至还介绍自己的同学和朋友来蜗牛学习,让我们在如此艰难的情况下,仍然相信还有人愿意相信我们,这样的使命感,让我们坚持了下来。
特别感谢愿意相信我们的渠道合作伙伴,愿意相信我们的交付能力,不遗余力地帮助我们推广,才得以让我们获取了更多的生源,业务得以继续,希望你们继续信任蜗牛,我们只会越来越好的,大家一起进步。
特别感谢那些一直陪伴在我们身边的同事们,甚至愿意拿出自己的积蓄来支持公司的发展,或者加班加点为了完成业绩的各个部门的一线的同事们。所以,公司为什么愿意拿出盈利的分红优先分给每一位同事,这也是核心所在。
特别感谢我们每一位同事的家属,尤其是股东的家属,在那样艰难的岁月里,工资都拿不到的情况下,你们选择了与你们的另一半,一起扛,没有为难公司,让蜗牛得以有一个喘息的机会。蜗牛未来的荣誉,有你们的一半,当然,未来的收益,也必然有你们的一半。
特别感谢与我们合作的企业和HR们,你们在公司经营困难甚至裁员的情况下,依然选择接收我们的学员,让他们有一个展现自己的机会,给了他们一个舞台。虽然,我们的学员很优秀,但是也有不优秀的,也需要继续历练, 你们手中的一票,握着的,是一个年轻人的职业和未来。
另外,还有一个群体,我要以另外的方式,单独表示感谢,请继续往后阅读,了解更多关于蜗牛创想和这群人的故事。
04 十周年庆
2025年3月16号,也就是去年的今天,那是一个阳光明媚的春天,万物复苏,充满生机,这是蜗牛创想十周年的日子。我们进行了“AI+教育+科技+人才”的战略发布会,各界伙伴和朋友共百余人参加了此次庆典,共同描绘了蜗牛创想下一个十年的战略前景和发展路径。得到了大家的支持和认可,并且用他们的真金白银,表达对蜗牛创想这家公司,以及这个团队,最大的信任。

关于十周年庆典的具体细节我就不再回顾了,大家有兴趣可以关注当时的文章:蜗牛学苑十周年庆:AI赋能教育,智启未来十年!全程直播,完全对外公开,也可以在我们的视频号里面找到我们全程直播的回放内容。这里我就挑几个点给大家做一下分享。
01、战略规划
我们在十周年也正式发布我们的AI+战略,核心是:“AI+教育+科技+人才”。2024年我们不仅正式上线了AI的全套课程(今年也已经更新到4.0的版本,全面讲解AI的底层原理和智能体开发的全套技术体系),也开发了两个我们自己内部使用的AI智能体:AI智慧课堂和AI面试官,解决我们内部教学交付的两个重要产品。所以,正好迎来了AI的风口,也让大家相信我们所做的一切是有价值的。也认可了“AI+教育+科技+人才”的定位。
IT培训本就是培养科技人才的,围绕“AI+教育+科技+人才”,我们能做的事情还有很多。比如围绕教育领域研发AI产品、比如为国内企业培养更多的AI人才、比如孵化更多的AI相关产品。事实上,我们也是西南地区唯一的鸿蒙授权培训服务商,AI+鸿蒙,也是极具想象空间的大战略。至于这个战略如何落地,后续段落再行阐述。
02、对外融资
十周年庆典上,我们也对外释放了一些股份,进行了一轮融资。以数千万估值融资了数百万元,也希望让更多的朋友能够参与公司未来的发展,享受发展所带来的红利。我们向朋友们讲述了公司前两年所面临的亏损,展示了真实的营收数据,也畅想了未来的发展规划。大家了解了一个真实的蜗牛,依然选择用真金白银投票,我想,这也是这家公司的另外一面,虽然经历了困顿,但是在十周年的时候,我们选择处理好历史遗留问题,以崭新的面貌在大家面前,迎接下一个十年。这也是为什么,在今天这个特别的日子里,我能够以一种平静的心态,来回顾过往的不堪,展现我们的至暗时刻,这是一种对过往的释怀,对未来的自信。
所以,此时此刻,我要郑重地感谢,在如此艰难并亏损的情况下,这帮依然选择相信我们的股东们,你们用这份信任和真金白银,为公司投下的赞成票,是整个蜗牛创想团队铭记在心的感恩,也是一份沉甸甸的责任。所以,对你们的感谢,一定不是体现在嘴上,而是身体力行,绝不辜负。
事实上,经过两轮的股份稀释(第一轮是员工持股,第二轮是对外融资),目前我们的股份稀释已经暂时告一段落,将不再接收个人投资。上市,把自己彻底变成一家公众公司,这是我们下一个十年,为之努力的里程碑。我们知道,上市其实不是目标,而是一个过程,所以,我们也有更具体的目标:用十年的时间,帮助200万年轻人,实现职场跃迁。
03、上市路径
最初,我们的上市路径是按照新三板>创新层>北交所来进行规划的,但是这里存在一个问题,新三板并不是上市,而且现在基本上无人问津,折腾一大圈之后,还是得从头来过,所以放弃了这一路径。那么后续主要考虑三条路径:直接上北交所、直接上港交所、被上市公司收购。而目前由于蜗牛创想还存在一个“教育”的标签,所以是无法满足北交所的上市要求的,因为国家对“教育”二字非常敏感,除非我们全面转型,将自己变成一家“硬核科技”公司,我们不排除这一选项,但是没有“教育”的蜗牛,是没有灵魂的。上市只是一个过程,不是目标,更不是圈钱的工具,所以宁可不上,我们也不会丢掉自己的灵魂。当然,路径还是有的,不过需要我们继续做一些转型,教育+科技,当然也是我们非常重要转型依据。
目前我们大致会分3个关键步骤来完成转型升级,即使无法上北交所,港交所也是选项之一,即使最终我们由于自己的能力不足,或时运不济,那么作为一家现金流公司,我们仍然有机会成为上市公司的一份子。这3个关键步骤是:主营业务实现全面盈利,品牌建设继续发展,先完成1个亿的销售额和2个亿的估值。与此同时,探索科技线和人才线的业务机会,比如我们计划今年开始探索AI+鸿蒙孵化器的可行性。
以全国6个校区为直营(成都、北京、南京、武汉、广州、重庆),配合联营模式,将更多的培训机构或个人名师联合起来,共同发展,扩张校区规模和品牌影响力,并正式孵化科技业务。
以现金流为支撑,积极拓展和并购相关业务,实现1+1>2的目标,要做到10年,200万人的影响力,战略并购是必须走的一条路径。并购标的主要是两个领域:教育+科技,当然,其中的AI+科技含量必须要高,这是大势,不以人的意志为转移。
当然,一些朋友也提出了疑问,比如出生人口下降,行业遇冷,年轻人躺平,未来的教育必然无法支撑一家上市公司等。其实为什么我们这样苦苦支撑,就是希望自己一直能够在牌桌上,因为我们有自己的思考,请继续往下看,我会回答这些问题。
05 战略落地
未来十年的战略核心:“AI+教育+科技+人才”,如何解读?在此,我必须要进行一下解读和分析,否则很有可能会被视为一个杂牌组合体,感觉我们啥都想沾点边,仅仅只是堆砌一些名词而已。作为一家公司的负责人,我想,我有责任也有义务为公司的未来负责,为全体员工和股东负责,也为我们的客户的伙伴负责。如何让我们的战略执行下去,那么就不能存在模糊地带,让大家误读,我想,这也是我写篇文章的目的之一。
作为一家以IT培训起家的公司,我认为我们在当今有先天优势,当然也有先天不足。其实蜗牛创想这家公司,所经营的业务的核心是什么?你不妨把我们的战略倒过来看,“人才+科技+教育+AI”,我认为我们的核心就是培养人才,这是我们的优势,也有可能成为限制我们发展的瓶颈,能不能突破,就需要这个团队有没有魄力,很显然,我们有这个魄力。
IT培训这个行业,一度被认为是很赚钱的行业,而门槛也不高,因为几个人,攒几台电脑,找个地方就可以开干。也正因为如此,行业乱想丛生,坑蒙拐骗者不计其数,劣币驱逐良币,导致一些好的机构也被淹没。市场最终会给出答案,其实很多时候,这个行业被认为是销售驱动型行业,只要销售能力强,赚钱还是容易的,因为学生有时候的选择是盲目的。这是一个服务型的行业,不像产品,你看得见,摸得着,你必须要花几个月的时间,亲身体验过,才知道自己当初的选择对不对。销售可以随便怎么吹牛逼,只要把学生忽悠进来,乖乖交钱后,那剩下的,还不是任由拿捏。比如,蜗牛学苑从创立之初,就一直跟学生签订不就业退全款的服务协议,甚至有的学生投诉到工商局或者人社局或者警察那里,他们都非常认可我们的做法,但是就是这样的硬核协议,却被很多同行拿来踩踏,成为攻击我们的手段之一。
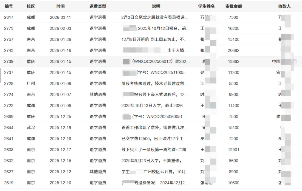
比如有类似这样的说辞,他们就是教学质量差,招不到人,才用这种手段欺骗你们这些年轻人。或者说交了的钱你觉得还有谁会退给你,不要天真了,他们可以用无数种手段让你无法退到钱,你见过哪个大学,收了的学费还会退给你的吗?诸如此类,不一而足,我不想阐述太多,下面这张图是我从我们的运营系统里面随便截取的一个退费清单,大家自行判断。

所有蜗牛的学生,入读后,任何时候可以退费,扣除掉已经服务的学时外,剩余学费随时可退,我们绝不为难学生。同样的,如果66个工作日未找到工作,我们全额退款。当然,也有一种例外,有少量学生会选择自主就业,此类情况我们会签订补充协议,明确未就业学费不退还。学生自主就业一般有两种情况:一是有更好的选择或出路,未来不一定要从事本专业工作;二是无法忍受就业期间的辛苦,选择退缩,当然,从学生个人的角度来说,他们不会这么看,他们会觉得我们是故意的,就是不想退费。可以理解,所以我们从不做过多解释,也就是这样的一些公开信的机会,有机会来阐述一下。我们的2025年的就业数据总结报告:“跨越山海,职向未来 | 蜗牛学苑2025年度就业报告,出炉!”,里面有详细的数据汇总说明,大家可以点击链接阅读。
等会,强哥,你说战略落地呢,你说这事干嘛?其实,我想先以此做个铺垫,没有硬核的实力,没有足够的执行力,没有对规则的敬畏,没有学生这个核心要素,和我们面对质疑的公开透明,何来的战略落地能力,那不就真变成来这里吹牛逼了吗?
01、PBET 11.0
每年一次的课程体系更新,雷打不动,每年都有我们想要强调的重点,都与企业需求接轨,绝不闭门造车。在经过了10.0全面拥抱AI的教学实践后,PBET11.0的核心就是让AI融入到每一个专业方向中,并且我们的专业名称也进行了修改。除了标准的以Python为核心的AI人工智能课程体系(含AI模型训练和智能体开发)和物联网AIoT专业本身就以AI驱动的之外,其他专业全面接入AI智能体开发项目,比如Java开发更名为:Java+AI智能体开发,前端鸿蒙更名为:鸿蒙+AI智能体开发,网络安全更名为:网络安全+AI攻防等,课程中的很多项目也将会以AI智能体开发为核心展开。
我们不仅以AI来驱动课程体系的更新迭代,也自研AI产品,过程中积累了很多经验,也有独立的研发公司承接各类AI开发类项目,这才是我们得以保持竞争优势的核心所在。AI智能体开发其实还是AI应用类产品,其技术原理本身并不难理解,谁都可以学习,其实难的在于企业级应用场景的落地。当今的AI仍然还是一个概率模型,很难做到100%,但是一个企业级应用,必须要确保AI的概率问题不能影响到业务运转,所以此时,我们的优势就体现出来了。不仅要有研发经验,同时也要对AI的底层原理有深刻的理解,否则项目上出现问题,你都不知道应该怎么优化。
企业现在也大量需要AI人才,而这类人才的培养,没有足够的技术积累,是根本做不到的。作为一家老牌机构,我们拥有大量的合作企业,我们得以获取到第一手的技术需求,进而融入到课程体系中,将场景转换为培养体系,满足企业用人需求,进而超越用人需求,培养真正的AI应用开发工程师。

看到这里,想必有些朋友也会有一些疑问,经常有人会问我,现在的程序员很难混了,AI写的代码已经很好了,你们还在培养程序员,还有机会吗?会不会这些程序员都会被淘汰了呢?大佬马斯克都在唱衰人类,声称未来十年AI就会超越人类,诸如此类的言论很多,当然,也有很多人相信,毕竟现在都不需要司机了,AI就能替代,事实摆在眼前。
其实AI的威胁是真实存在的,不容质疑,但是那不能成为我们摆烂的理由不是吗?时代的发展滚滚向前,被甩在身后的,永远是那些躺在功劳簿上不思进取的,或者装作看不见、听不到的人。而我们的战略,不就是主动拥抱AI吗?研究AI,理解AI,驯化AI,进而超越AI吗?
02、凡云教育
2025年下半年,我们重新启用“凡云教育”这个子品牌,专注于AI教育,目前正在实施AI人工智能线上直播课程4.0版本体系,也就是从2024年正式开设AI这个本专业以来(不是AI与其他的专业融合,而是专门的AI专业),进行的第4轮课程更新。AI教育这个赛道,在2023年有一大波割韭菜的课程,也狠赚了一波钱。我们看见了,但是我们没有动,而是潜心研究底层原理,在那么艰难的日子里,我们也没有想着要去割一波。某个层面上来说,这是商业的迟钝,但是也跟我们对职业教育的定位有很大关系。没有足够积累,绝不妄谈开设专业。而对于一些相对简单的课程,我们都是免费以公开课的形式为大家讲解,根本不要钱。
我给大家看两个东西,一个是我们凡云AI的4.0的课程体系,全是底层原理的深入讲解加各类场景模型训练和项目实操。目的就是真正意义上培养一名能够从事AI工作的高级工程师,课程体系完全覆盖甚至超越研究生的课程体系,但是又融合了更多的项目实战,以真正能动手训练模型或开发应用为核心目的进行培养。


下图是正在实施的4.0课程体系中“大模型原理与应用”这门课程的录播视频,前两天完成的授课,还热乎的。课程深入浅出,完整细致地讲解了大模型的底层工作原理和代码实现。比如手搓Transformer神经网络,可能是全网最全面、最细致、最具实操性的课程了,诸如此类,不再赘述。给大家看看长啥样:

以上,只是课程的冰山一角,我只想给大家看看,真正有价值的课程,到底应该是什么样子,真正有底蕴的机构,到底在苦苦积累什么东西。别在被那种10小时教会你AI、两天学会智能体开发、一周变成AI专家的噱头给忽悠了。
所以,我认为,好的课程应该被更多人看到,即使难免宣传之嫌,也无所谓,因为我就是在宣传我们好的课程,好的内容。而且这是我自己讲授的课程,难道不应该值得被更多的关注一下吗?欢迎各位朋友,介绍你的朋友来凡云教育学习全套AI线上课程,一对一指导,价格9800元,还有转介绍优惠,包你不亏。
03、小龙虾
可能我作为一个技术出身的创始人,确实在商业敏感度上要差了很多,这确实不是我最擅长的部分,所以我们需要团队,需要各个领域的优秀的人才,一起,才能把事情做成。就像我们无法理解,居然会有这么多人,排着队去找人安装OpenClaw,甚至花钱找人配置一只小龙虾。而凡云教育是怎么干的呢?我前面说过,这种玩意儿,我们实在不好意思收钱,所以只能开个公开课,免费给大家讲怎么弄这玩意儿。甚至像这种工具类的技术,都没有资格进入我们的课程体系,只适合随手这么一教,你随手一学,随手一用就好。用得好,你多给其他人分享,用得不好,你别怪我们教得不好就行。
提醒大家,明天晚上8点钟,欢迎各位朋友加入凡云教育的直播,一起把玩一下这只小龙虾。

04、图书出版
2025年,应人民邮电出版社邀请,编写AI领域的教材和配套案例。我正式出版了AI智能体开发这本书,算是我们进入AI领域的另外一个产出物。今年,我也计划继续出版AI模型训练的图书,你只需要花费几十块钱,就可以拥有整本图片和全部源代码。这是一本实操性极强的图书,也延续蜗牛学苑一惯的教学风格:PBET项目驱动。在此为想学习AI智能体开发的朋友推荐一下,作为一本基础教材,我认为是合格的,书中以六个项目实战为主线,将2025年7月份之前的几乎重要的AI智能体开发技术全部进行整合,值得为想真正学习AI智能体开发的朋友所拥有。但是出书一般都有时间差,图书定稿后,又有一些AI的新技术出现,我们的直播课程中,便会覆盖到更新的技术。

靠出书,能不能赚钱,我只能说,这不是出书的核心目的,也并非可以当成一个业务来经营的东西。那花这么多时间写书,意义何在?当然是为了影响力,希望通过写书建立更多的影响力,也让蜗牛学苑的品牌能够为更多人所知。另外,我们也相信,创业过程中的任何点滴积累,最终必然都会汇聚成满天星光。
05、产品研发
2024-2025年期间,我们正式开发了AI智慧课堂、AI面试官、基于AI在线编辑器等各种产品,目前也在内部持续使用。我们也带着学生做了很多智能体的原型项目,帮助他们在职场获得了企业的高度认可,去年到今年,我们还在研发公司内部使用的各类智能体。整个更大的泛教育领域,我们规划了较多的智能体研发方向,将在成熟的时候,逐步公之于众,当然,也希望能够打造一款爆品,能真正解决好个人或企业的问题。在此,我不想说太多,毕竟还不够成熟,AI领域变化又特别快,我也怕打脸,所以先容我们在内部使用出价值后再行公开。
06、孵化器
蜗牛学苑干的是什么事?培养人的事,我们做项目孵化,那必然有天然的优势。其实每年我们都会做学员的项目大赛,在这个过程中,也涌现出了很多优秀的产品和创意。对于竞赛中出现的好的作品和创意,我们愿意将其进行孵化投资。根据目前蜗牛创想所掌握的资源,我们计划完成两个领域的孵化,重点跟进AI+鸿蒙的产品孵化,AI是我们的战略核心,鸿蒙是国产自主可控的核心,我们也是鸿蒙授权的服务商,所以这两个方向的融合,对蜗牛创想来说,水到渠成。

07、校区联营
我们今年计划在北京建立最后一个直营校区后,将不再打算建立新的直营校区(台北校区除外),而将全国划分为六个区域,设立区域中心,再辐射其他联营校区。如果2026年我们能够实现业绩目标,那么2027年将正式推行校区联营模式,选择三个城市进行联营试点,以验证联营模式和配套体系的可行性。
实话实说,目前在联营模式上,我们有较强的优势,有完善的交付体系。但是也有短板,那就是流量,所以为什么我说2026年我们能够实现业绩目标的情况下,才会正式推进这个事情。如果能够实现业绩目标,说明我们已经很好地解决了流量这个问题。如果自己都没有达到很好的盈利水平,你搞什么联营,不是自己给自己找事吗?所以这6个直营校区,就是样板工程,我们一定要想尽一切办法把它们做好。否则后面再多的规划,都是笑话。
08、优势专业
现有的6个直营校区(北京校区正在筹备中),我们将为每个校区打造不同的优势专业,比如北京校区,我们将只专注于一个专业方向的打造:AI智能体开发方向,比如重庆校区,我们将只专注于打造车载电子方向(包括嵌入式开发、车载测试)等。拒绝内卷,全国一盘棋,让每个校区,都有自己的优势专业,都有拿得出手的优势专业。以一个优势专业,带动第二专业的建设,各个校区,各个区域,形成优势互补,资源共享。也为后续的校区联营计划做好铺垫,不同的城市,根据不同的市场需求,打造不同的优势专业。
06 答疑解惑
最后,我想通过问答的方式,就大家可能关心的一些问题,说一说我的看法。
IT行业到底还有没有前途?
我想,这是很多年轻人或者从业者非常关心的问题。我的回答是,IT行业比任何时候都更需要,从来没有这样一场革命,需要IT行业的大量支撑。只不过,我们不能再以传统的思维来看待IT行业,因为结构变了,技术方向也在调整,我们需要保持学习,保持进步。
百年未有之大变局,在中国通向世界老大的过程中,科技创新永远是重要支撑。而整个科技行业,需要大量的工程师,其中又以IT工程师和研发类工程师为主,而且往后会有越来越多的工程师需求。大家始终要相信,人才是推动科技进步的核心生产力。
AI到底会不会取代人类?
AI是来辅助人类的,不是取代。但是AI一定会取代一些简单重复的工作或者危险系数很高的工作,这是必然趋势,也是社会发展所需。很多人都在恐慌,AI会取代人类,AI甚至会杀死人类,独霸地球,是不是科幻片看多了?如果真有那一天,该灭亡就灭亡吧,有啥呢?害怕就不会灭亡了?但是,我们永远不要为还未发生的事操心不是吗?据报道显示,都2026年了,全世界还有几千万人相信地球是扁平的呢?你敢信?
说AI最终会取代人类的,不是蠢,那就是坏。据世界经济论坛(WEF)预测,未来5年内,AI将创造9700万个新岗位,但同时淘汰8500万个旧岗位。这个数据,我感觉有点靠谱,毕竟一个新事物,咱们得辩证看待,否则,人最终都会死去,那么出生本就是一个错误?
其实面对AI的冲击,我们能做的,就是主动拥抱AI,努力做好眼前可以做的事情。咱们应该团结起来,把AI调教好,阻止AI毁灭世界。哈哈……
现在的行业这么卷,我应该怎么办?
每个行业都卷,而且也不是现在就卷,而是一直卷,所以中国卷成了工业大国,卷成别人高攀不起的样子。卷,这是中国人基因里面自带属性。所以,谈这个话题的意义不大,我们都想轻松生活,但是没有这个条件。我始终认为,反正都是卷,在一个有发展前景的行业里卷,总还有点想象空间,找个收入高的行业卷,好歹卷了还有点想头。
职业教育这个行业,还有未来吗?
说实话,现在这个时间点,来阐述我对这个问题的看法,我觉得我说的话还是不足够有说服力,毕竟我们也刚从低谷爬起来,还正在拍身上的灰尘。要不我给大家看一下数据。

我们以 1200万左右为基数,因为2025年的大学毕业生人数为1222万,出身人口低于1200万,很有可能会有很多大学无生可招。也就是说,从2021年开始,出生人口数量就已经无法满足现在的大学招生规模了。
按照大学生21岁左右毕业出来工作,2019年人口开始下滑,这帮年轻人,要到2040年才毕业。单纯从这一个角度来看,职业教育行业,至少还能发展15年。当然,我们还无法规划15年以后的事情,起码,未来10年,是没有太多变化的。
所以单凭这一点来看,我认为这个事情还能再做10到15年时间,毕竟人口基数摆在那。但是我们肯定要与时俱进,提供给企业高校无法提供的人才和竞争力。这也是我们这个行业的生存空间,我们无法替代高校,但是高校也永远不可能替代我们。
再者说,在这15年中,难道我们一点创新都没有吗?还在这里死等15年,就这么看着它?不可能的嘛。但是,我们的同行们,不能再单打独斗了,互相内卷。必须要大家联合起来,做好分工,每个人或者每个品牌,有独立的一个擅长的领域。所以,我呼吁,全国的同行们,我们联合起来,共同做强做大,一起来分这块蛋糕,分它15年。
这么多同行都倒下了,凭什么觉得你行?
这个问题问得好,我凭什么觉得我行?因为这么多同行都倒下了,我都没有倒下,我还在牌桌上,这还不能证明我行?
07 写在最后
写到这里,15000字左右的公开信,该结尾了。我衷心地希望大家都好,希望IT行业好,希望培训行业好。也希望我们的好的经验,不好的经验,好的想法,或者不切实际的想法,能够给各位看官一点点启发,足矣。你我皆凡人,生在人世间,来一趟不容易,且行且珍惜。让我们一起携手并进,翻越山海,顶峰相见。咱们一起,来重温一下“蜗牛”这首歌的歌词:
● 我要一步一步往上爬,等待阳光静静看着它的脸,小小的天有大大的梦想,重重的壳裹着轻轻地仰望;我要一步一步往上爬,在最高点乘着叶片往前飞,任风吹干流过的泪和汗,总有一天我有属于我的天……
最后,如有兴趣,也欢迎各位朋友,阅读历年周年庆文章,鞭策我们前行。欢迎各位评论区留言,分享你所了解的蜗牛,吐槽你对蜗牛的不满,谢谢大家,我们明年再见!
